| Figure 1.1 | Timeline demonstrating the progression of the project. |
| Figure 2.1 | Mockup of initial front panel design. A collage of existing modules: A-190-4 (Doepfer, 2023); Piston Honda MkIII (Industrial Music Electronics, 2025); MFX (ALM Busy Circuits, 2025). |
| Figure 3.1 | Series of screenshots taken on oscilloscope (colour graded), demonstrating effects of capacitor size on RC filtering characteristics. |
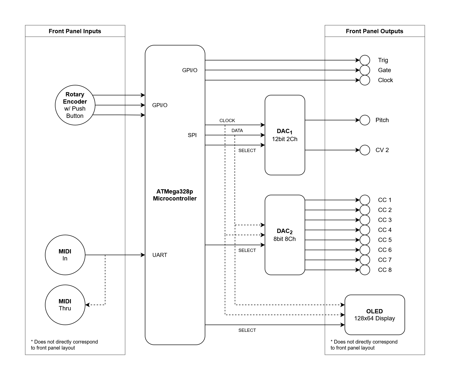
| Figure 4.1 | Block diagram showing the preliminary architecture of the module. |
| Figure 4.2 | Excerpt of DAC1 datasheet showing a 12-bit write command delivered via SPI (Microchip Technology Inc., 2010). |
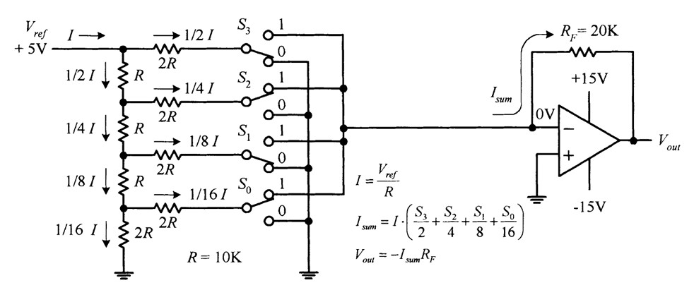
| Figure 4.3 | Schematic for a simple 4-bit R/2R DAC (Scherz and Monk, 2016, p.806). |
References
ALM Busy Circuits (2025) MFX. ALM [online]. Available from: https://busycircuits.com/pages/alm032 ↗ [Accessed 2 October 2025]. Doepfer (2023) Doepfer A-190-4 USB/MIDI-to-CV/Gate/Sync Interface. Doepfer Musikelektronik [online]. Available from: https://www2.doepfer.eu/index.php/en/component/zoo/item/a190-4 ↗ [Accessed 2 October 2025]. Doepfer (no date) Technical Details A-100. Doepfer [online]. Available from: https://doepfer.de/a100_man/a100t_e.htm ↗ [Accessed 28 October 2025]. Industrial Music Electronics (2025) Piston Honda Mark III. Industrial Music Electronics [online]. Available from: http://www.industrialmusicelectronics.com/products/21 ↗ [Accessed 3 October 2025]. Microchip Technology Inc. (2010) MCP4902/4912/4922 p.25 [online]. Available from: https://ww1.microchip.com/downloads/aemDocuments/documents/OTH/ProductDocuments/DataSheets/22250A.pdf ↗ [Accessed 28 October 2025]. Scherz, P. and Monk, S. (2016) Practical Electronics for Inventors. 4th ed. New York: McGraw Hill TAB. [Accessed 28 October 2025].
